LAMPARA MANUAL PARA LA PROYECCION DE ESTIMULOS VISUALES CONSISTENTES EN RECTANGULOS O PUNTOS LUMINOSOS DE TAMAÑO VARIABLE Y DIAPOSITIVAS.

  1. Inventores/as:
  2. FRANCISCO GONZALEZ GARCIA
  1. Universidade de Santiago de Compostela
    info
    Universidade de Santiago de Compostela

    Santiago de Compostela, España

    Localización geográfica de la organización Universidade de Santiago de Compostela
ES
Publicación principal:

ES2102957A1 (01-08-1997)

Otras Publicaciones:

ES2102957B1 (01-04-1998)

Solicitudes:

P9401658 (28-07-1994)

LAMPARA MANUAL PARA LA PROYECCION DE ESTIMULOS VISUALES CONSISTENTES EN RECTANGULOS O PUNTOS LUMINOSOS DE TAMAÑO VARIABLE Y DIAPOSITIVAS.

Resumen

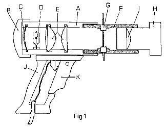
LAMPARA MANUAL PARA LA PROYECCION DE ESTIMULOS VISUALES CONSISTENTES EN RECTANGULOS O PUNTOS LUMINOSOS DE TAMAÑO VARIABLE Y DIAPOSITIVAS, QUE SUSTITUYE LOS SISTEMAS MANUALES DE PROYECCION DE ESTIMULOS LUMINOSOS, FUNDAMENTALMENTE RECTANGULOS Y CUCALOS, ADECUADOS PARA EL ESTUDIO DE LAS CELULAS DEL SISTEMA VISUAL, POR UN SISTEMA MAS VERSATIL Y MANEJABLE BASADO EN LA UTILIZACION DE DIAFRAGMAS RECTANGULARES Y CIRCULARES DE APERTURA VARIABLE Y DIAPOSITIVAS CONVENCIONALES QUE CONTENGAN FIGURAS ESPECIFICAS PARA SU APLICACION EN ESTUDIOS DEL SISTEMA VISUAL.

INVENES: P9401658